-
C2F双法兰松套传力补偿接头

- 产品介绍
- 订购流程
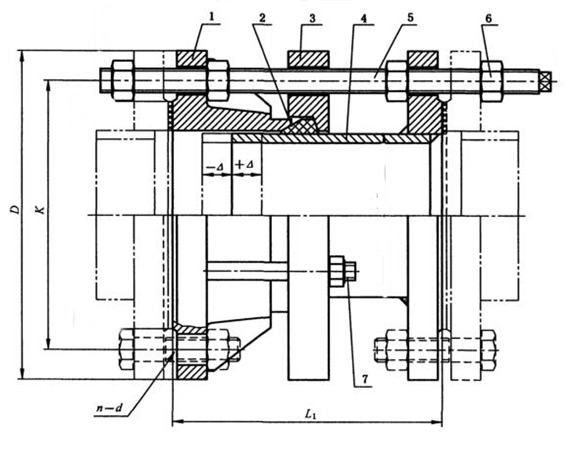
C2F双法兰松套传力补偿接头双法兰松套传力补偿接头是在CF型法兰松套补偿接头的基础上增设法兰短管及传力螺杆而成,次类型的补偿接头与松套补偿接头和松套限位补偿接头不同的是它的补偿量是指在安装及拆卸过程中的调节量,一旦将所有的螺母拧紧,它是刚性连接的,可以传递轴心力,从而保护阀门、泵等设备。

说明:
1-本体 2-密封圈 3-压盖 4-短管法兰 5-传力螺杆 6-螺母 7-螺柱C2F双法兰松套传力补偿接头的基本尺寸
DN 安装尺寸L 伸缩量 △ 法兰连接尺寸 0.6Mpa 1.0Mpa 1.6Mpa D K n-d D K n-d D K n-d 65 200 20 160 130 4-φ14 185 145 8-φ18 185 145 8-φ18 80 190 150 - 4-φ18
200 160 200 160 100 210 170 220 180 220 180 125 240 200 8-φ18 250 210 250 210 150 265 225 285 240 8-φ22 285 240 8-φ22 200 320 280 340 295 340 295 12-φ22 250 375 335 12-φ18 395 350 12-φ22 405 355 12-φ26 300 220 25 440 395 12-φ22 445 400 460 410 350 490 445 505 460 16-φ22 520 470 16-φ26 400 540 495 16-φ22 565 515 16-φ26 580 525 16-φ30 450 595 550 615 565 20-φ26 640 585 20-φ30 500 645 600 20-φ22 670 620 715 650 20-φ33 600 240 755 705 20-φ26 780 725 20-φ30 840 770 20-φ36 700 860 810 24-φ26 895 840 24-φ30 910 840 24-φ36 800 350 30 975 920 24-φ30 1015 950 24-φ33 1025 950 24-φ39 900 1075 1020 1115 1050 28-φ33 1125 1050 28-φ39 1000 1175 1120 28-φ30 1230 1160 28-φ36 1255 1170 28-φ42 1200 370 1405 1340 32-φ33 1455 1380 32-φ39 1485 1390 32-φ48 1400 1630 1560 36-φ36 1675 1590 36-φ42 1685 1590 36-φ48 1600 380 1830 1760 40-φ36 1915 1820 40-φ48 1930 1820 40-φ56 1800 2045 19970 44-φ39 2115 2020 44-φ48 2130 2020 44-φ56 2000 400 2265 2180 48-φ42 2325 2230 48-φ48 2345 2230 48-φ62 2200 2475 2390 52-φ42 2550 2440 52-φ56 - - - 2400 2685 2600 56-φ42 2760 2650 56-φ56 - - - 2600 450 40 2905 2810 60-φ48 2960 2850 60-φ56 - - - 2800 3115 3020 64-φ48 3180 3070 64-φ56 - - - 3000 3315 3220 68-φ48 3405 3290 68-φ62 - - - 3200 3525 3430 72-φ48 - - - - - - 3400 3735 3640 76-φ48 - - - - - - 3600 3970 3860 80-φ56 - - - - - - 订购流程
1. 客户可将采购清单直接拨打咨询热线:13382024678。
2. 我司收到客户采购清单后为客户提供型号、选型与报价(价格清单)。
3. 具体事宜商定,如:交货期、特殊要求等等。
订货须知:
1、客户对产品有特殊要求须在订货合同上提供说明。
2、本厂可根据客户特殊要求配置各类驱动装置。
3、如由客户提供确定的类型和型号时,客户应正确说明其型号和要求,在供需双方理解一致的条件下签订合同。
4、期货、订货的客户请先来电详细说明所需的型号、规格、数量以及交货时间、地点,并先按总额的30%预定金或全额货款及汇入我公司账户,其余货款待发货前汇入,以便及时安排发货
上一页:CC2F可拆双法兰松套传力补偿接头 下一页:CF单法兰松套传力补偿接头




