-
BY压盖松套限位补偿接头

- 产品介绍
- 订购流程
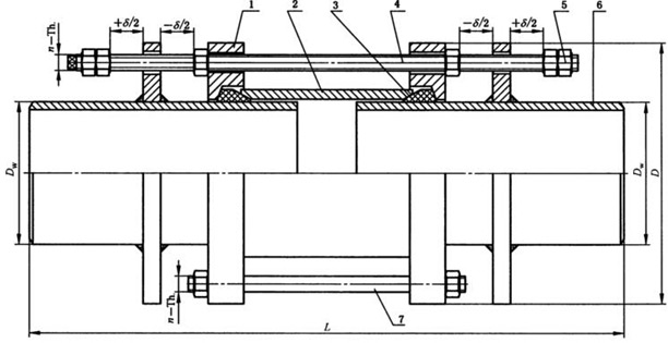
BY压盖松套限位补偿接头BY压盖松套限位补偿接头是在松套伸缩接头原有基础上,增设限位装置,在最大伸缩量处用双螺母锁定,这样就实现管道在允许的伸缩量中可以自由伸缩,一旦超过其最大伸缩量,就起到限位,这样就就有效的确保管道的安全运行,特别适用于有震动或有一定斜度及在拐弯的管道中的连接。

说明:
1-压盖 2-本体 3-密封圈 4-限位螺杆 5-螺母 6-限位伸缩管 7-螺柱BY 压盖松套传力补偿接头的基本尺寸
DN
管子外径
Dw
外形尺寸
限位螺杆和螺柱
伸缩量
δ
外径
D
总长
L
n
个
Th.
65
76
155
645
2
M12
45
80
89
165
100
108
190
114
195
125
133
215
140
225
150
159
245
M16
168
255
200
219
310
250
273
375
3
M20
300
325
440
655
55
350
377
490
4
400
426
540
450
480
590
5
500
530
645
600
630
750
700
720
850
6
800
820
965
1075
M24
75
900
920
1065
7
1000
1020
1165
1200
1220
1365
8
1400
1420
1590
9
M27
1500
1520
1690
10
1600
1620
1795
1800
1820
2000
11
2000
2020
2200
12
2200
2220
2420
13
M30
2400
2420
2635
14
2600
2620
2835
15
2800
2820
3040
16
M33
3000
3020
3240
17
3200
3220
3440
1130
18
130
订购流程
1. 客户可将采购清单直接拨打咨询热线:13382024678。
2. 我司收到客户采购清单后为客户提供型号、选型与报价(价格清单)。
3. 具体事宜商定,如:交货期、特殊要求等等。
订货须知:
1、客户对产品有特殊要求须在订货合同上提供说明。
2、本厂可根据客户特殊要求配置各类驱动装置。
3、如由客户提供确定的类型和型号时,客户应正确说明其型号和要求,在供需双方理解一致的条件下签订合同。
4、期货、订货的客户请先来电详细说明所需的型号、规格、数量以及交货时间、地点,并先按总额的30%预定金或全额货款及汇入我公司账户,其余货款待发货前汇入,以便及时安排发货
上一页:CF单法兰松套传力补偿接头 下一页:B2F双法兰松套限位补偿接头




