-
B2F双法兰松套限位补偿接头

- 产品介绍
- 订购流程
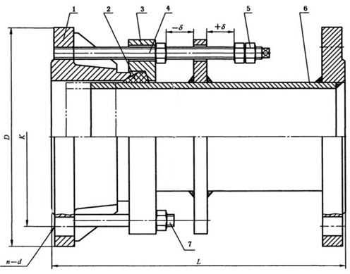
B2F双法兰松套限位补偿接头双法兰松套限位补偿接头是在BF型法兰松套补偿接头的基础上增设限位螺柱而成,最大伸缩量处用双螺母锁定,补偿因热胀冷缩和地基沉降引起的管线轴向位移及挠曲和偏心,从而保护阀门的设备。根据连接方式的不同分为单法兰松套限位伸缩接头和双法兰松套限位伸缩接头。

说明:
1-本体 2-密封圈 3-压盖 4-限位螺杆 5-螺母 6-限位伸缩管 7-螺柱B2F 双法兰松套限位补偿接头的基本尺寸
DN安装尺寸L
伸缩量
δ法兰连接尺寸
0.6Mpa
1.0Mpa
1.6Mpa
D
K
n-d
D
K
n-d
D
K
n-d
65
300
25
160
130
4-φ14
185
145
8-φ18
185
145
8-φ18
80
190
150
- φ18
200
160
200
160
100
210
170
220
180
220
180
125
240
200
8-φ18
250
210
250
210
150
265
225
285
240
8-φ22
285
240
8-φ22
200
320
280
340
295
340
295
12-φ22
250
375
335
12-φ18
395
350
12-φ22
405
355
12-φ26
300
370
32.5
440
395
12-φ22
445
400
460
410
350
490
445
505
460
16-φ22
520
470
16-φ26
400
540
495
16-φ22
565
515
16-φ26
580
525
16-φ30
450
595
550
615
565
20-φ26
640
585
20-φ30
500
645
600
20-φ22
670
620
715
650
20-φ33
600
755
705
20-φ26
780
725
20-φ30
840
770
20-φ36
700
860
810
24-φ26
895
840
24-φ30
910
840
24-φ36
800
600
975
920
24-φ30
1015
950
24-φ33
1025
950
24-φ39
900
1075
1020
1115
1050
28-φ33
1125
1050
28-φ39
1000
1175
1120
28-φ30
1230
1160
28-φ36
1255
1170
28-φ42
1200
1405
1340
32-φ33
1455
1380
32-φ39
1485
1390
32-φ48
1400
640
65
1630
1560
36-φ36
1675
1590
36-φ42
1685
1590
36-φ48
1600
1830
1760
40-φ36
1915
1820
40-φ48
1930
1820
40-φ56
1800
2045
19970
44-φ39
2115
2020
44-φ48
2130
2020
44-φ56
2000
2265
2180
48-φ42
2325
2230
48-φ48
2345
2230
48-φ62
2200
2475
2390
52-φ42
2550
2440
52-φ56
-
-
-
2400
2685
2600
56-φ42
2760
2650
56-φ56
-
-
-
2600
710
70
2905
2810
60-φ48
2960
2850
60-φ56
-
-
-
2800
3115
3020
64-φ48
3180
3070
64-φ56
-
-
-
3000
3315
3220
68-φ48
3405
3290
68-φ62
-
-
-
3200
3525
3430
72-φ48
-
-
-
-
-
-
3400
3735
3640
76-φ48
-
-
-
-
-
-
3600
3970
3860
80-φ56
-
-
-
-
-
-
订购流程
1. 客户可将采购清单直接拨打咨询热线:13382024678。
2. 我司收到客户采购清单后为客户提供型号、选型与报价(价格清单)。
3. 具体事宜商定,如:交货期、特殊要求等等。
订货须知:
1、客户对产品有特殊要求须在订货合同上提供说明。
2、本厂可根据客户特殊要求配置各类驱动装置。
3、如由客户提供确定的类型和型号时,客户应正确说明其型号和要求,在供需双方理解一致的条件下签订合同。
4、期货、订货的客户请先来电详细说明所需的型号、规格、数量以及交货时间、地点,并先按总额的30%预定金或全额货款及汇入我公司账户,其余货款待发货前汇入,以便及时安排发货
上一页:BY压盖松套限位补偿接头 下一页:BF单法兰松套限位补偿接头




